Cihazlar arası kablosuz şarj imkanı üzerinde çalışan Apple; cihazlarına iki yönlü kablosuz şarj özelliği eklemeyi açıklayan yeni patentler almış.
İlk olarak Patently Apple tarafından tespit edilen patentler, iPhone, iPad ve Apple Watch dahil olmak üzere çeşitli cihazları şarj eden bir MacBook’u ve aynı şeyi yapabilen iPad ve iPhone modellerini gösteren çizimleri içeriyor.
İki yönlü kablosuz şarj özelliği; aslında bazı üreticiler tarafından hali hazırda kullanılıyor. Apple’ın patent çizimlerine göre burada yapmak istediği ise kablosuz şarj uyumlu Apple cihazlarını şarj etmek için bir MacBook’un kapağını, avuç içi dayanak bölümünü veya trackpadini kullanılabilmek.
Patentin çözmeyi vaat ettiği problemler ise bazı durumlarda kullanıcıların yeterli elektrik prizine ulaşamaması ve her cihaz için ayrı bir şarj aleti / güç adaptörü taşımanın her zaman imkanlar dahilinde olmaması olarak bildiriliyor.
Çizim 1

Üstteki patent çizimi, bir iPhone ve Apple Watch’u şarj eden gelecekteki bir MacBook cihazını gösteriyor. MacBook’u kullanırken böyle bir şarj işlemi ne kadar mümkün olur bunu bilemedik!
Çizim 2

Bir MacBook’un kapağında şarj edilen cihazları gösteren bu çizim ise dizüstü bilgisayarınızı kablosuz şarj pedi olarak kullanabileceğinizi göstermekte.
Çizim 3

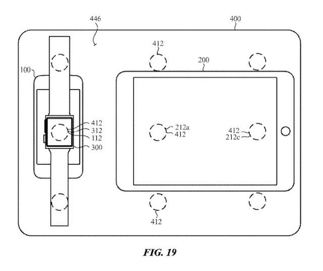
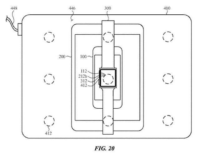
Bu çizimde ise Apple Watch’u şarj eden bir iPhone, iPhone’u şarj eden bir iPad ve iPad’i şarj eden bir Macbook gözüküyor.
Şu anda MacBook’lar ve iPad’ler, kablosuz şarj ile uyumlu olmayan alüminyum malzemeden üretiliyorlar. Apple, bu iki yönlü kablosuz şarj teknolojisini cihazlarına dahil etmek istiyorsa, bu sınırlamaya göre cihazlarında kullandığı materyallerde değişiklik yapmak durumunda.
Bu arada aynı anda birden fazla cihazı şarj edebilen kablosuz şarj bobinleriyle dolu bir MacBook veya iPad fikrini düşünürken Apple’ın talihsiz AirPower projesinin de insanın aklına gelmemesi imkansız. Bu patentin hayata geçebilmesi için Apple’ın güç seviyeleri ve termal kısıtlamalar doğrultusunda da cihazlarında geliştirmeler yapması gerekiyor.
Açıkcası cihazlar arası kablosuz şarj imkanı üzerindeki çalışmalar sonuç verir mi, MacBook’u tüm cihazlar için kablosuz bir şarj pedi olarak kullanabilir miyiz bilemiyoruz. Ama en azından iki yönlü kablosuz şarj teknolojisinin iPhone’larda kullanıldığını görmek bir çoğumuzu memnun edecektir.


